- Úvod
- >>
- Príslušenstvo pre domácnosť
- >>
- Dielňa
- >>
- Spojovací a kotviací materiál
- >>
- Fischer kovová hmoždinka HM 6 x 37 S ,do sadrokartónu
Fischer kovová hmoždinka HM 6 x 37 S ,do sadrokartónu
Všestranná kovová hmoždinka do dutín s metrickou skrutkou.
Výhody
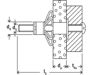
- Vďaka rozsiahlemu sortimentu je hmoždinka HM vhodná pre doskové stavebné materiály o hrúbke 3 - 50 mm a tým aj pre najrôznejšie aplikácie.
- Metrický vnútorný závit umožňuje viacnásobné povolenie a ukotvenie kotveného dielu a tým ponúka optimálnu flexibilitu.
- Rozpínacie ramená hmoždinky HM ponúkajú veľkú dosadaciu plochu a tým umožňujú vysokú nosnosť.
- Zúbky na okraji hmoždinky sa vnoria do materiálu dosky a zabraňujú pretáčaniu hmoždinky a tým uľahčujú montáž.
fischer kovová hmoždinka HM-S je hmoždinka s metrickou skrutkou univerzálne použiteľná do všetkých doskových materiálov. Aplikuje sa pomocou montážnych klieští HM-Z 1 predsadenou montážou. Hmoždinka sa pomocou klieští roztiahne a ramienka sa zaprú o druhú stranu dosky. Inak je možné hmoždinku aktivovať pomocou ručného alebo AKU skrutkovača. fischer HM-S je vhodná pre upevnenie osvetlenia, garniží či držiakov na uteráky.
Špecifikácie
Parametre
| Hmotnosť | 0,075 kg |
|---|

